济宁开云电竞相关app
您的位置:首页>产品中心>app云开 >在线振动式粘度计
产品中心 Product Categories

济宁开云电竞相关app

手机:13020679170

邮箱:652688910@qq.com

地址:济宁北湖省级旅游度假区碧桂园天绘商业街1号楼4层0418号

开云娱乐官网首页网址

产品适用于石油、食品饮料、涂料等多种行业。采用振动式传感器原理,确保高精度和快速响应,适应高温高压等恶劣环境。我们的开云娱乐官网首页网址结构简单稳固,提供实时数据,减少人工干预,提升生产效率。选择我们的开云娱乐官网首页网址,享受高灵敏度和广泛适用性,满足您的精确测量需求。.......

  • +13020679170

    联系电话

  • +13020679170

    手机号码

  • 652688910@qq.com

    公司邮箱

产品介绍

开云娱乐官网首页网址是一种专门用于测量液体粘度的仪器,它可以用于石油类、热熔胶、食品饮料、液体浆料、油漆、涂料、乳胶以及实验室的各种化学溶液等牛顿流体的粘度测量。这种粘度计的测量范围一般在0~109MPa·s之间,被广泛应用于各种生产企业以及科学实验室。

开云娱乐官网首页网址的检测原理基于传感器探头的振动,传感器的探头在液体中以特定的频率进行振幅运动,由于振动时会受到液体粘性阻尼的作用,探头的振幅会随着衰减。为了保持探头与液体相互作用前后的振幅一致,需要补充因阻尼作用而损失的能量。补充的这部分能量与液体的粘度是相关的。通过测量补充的这部分能量,能够凭借特定的关系计算出该液体的粘度。*后借助仪器内部的处理器转换成可显示的粘度读数。

开云娱乐官网首页网址的主体包括检测杆、驱动腔体、防爆仪表盒以及连接驱动腔体与防爆仪表盒的屏蔽线缆四个部分,其中检测杆穿过腔体的底部,并且与驱动反馈装置想连。驱动腔体内设有磁屏蔽架和驱动反馈装置,顶部有旋盖和连接于旋盖上的防爆填料函。检测杆的内部顶端设有恒弹性架和径向支架,底部装有温度探头。检测杆内部贯穿设有传导杆,一端连接着恒弹性架,另一端连接着探头。这样的设计能够快速平衡环境温度与线圈自身电阻产生的温度差,实时监测温度变化并进行补偿,从而提高检测数据的准确性,也使得粘度计的结构简单而稳固。

在线振动式粘度计是一种新兴产品,相比普通的旋转式粘度计,它具有更多的优势。首先,它能够实时在线检测,不用人为取样检测,减少了工人的劳动力,适合需要实时监测的应用场景。再者它的反应速度快,能够快速响应粘度的变化,为监测人员及时提供液体粘度数据。对于安装环境和测量环境比较恶劣的场所,振动式粘度计也一样适用,它可以在高温高压的环境下正常运行,适用性更广泛。由于振动式粘度计的结构比较简单稳定,所以在各种苛刻环境下都能保持较高的可靠性。它还具有高灵敏性的特点,它对微小变化非常敏感,能够精确地测量粘度变化。


连接方式:

开云娱乐官网首页网址的连接方式分为法兰连接和螺纹连接两种,它的安装方式也是多样的,可以根据现场情况选择直管连接、弯管连接、顶部安装或者侧面安装,以下是部分安装示意图:


图片.png图片.png图片.png


振动式粘度计直管连接示意图


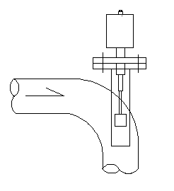
振动式粘度计弯管连接示意图



图片.png图片.png


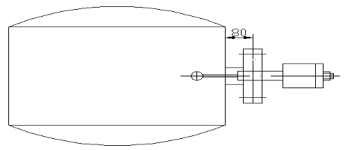
侧面安装示意图


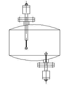
釜顶安装示意图


产品参数表

  • 被测介质
    各种液体介质
  • 显示方式
    LCD背光显示温度、粘度
  • 测量范围
    0~109MPa ·s
  • 测量精度
    ±1cp
  • 温度精度
    0.2%
  • 环境温度
    -30°℃~80℃
  • 压力范围
    <25Mpa
  • 传感器耐温范围
    <450℃
  • 信号响应时间
    2s
  • 供电电压
    24V DC
  • 输出信号
    4~20 mA、Modbus-RTU协议485接口
  • 防护级别
    IP66
  • 防爆标准
    Ex db Ic T6 Gb
  • 标定
    标准样品液
  • 粘度单位
    P、CP、 mpa.s、pa.s.mm2/s、m2/s. st. cst. s
  • 连接方式
    法兰/螺纹
  • 接液材质
    316不锈钢(标配);可选其他材料
Baidu
map